D Type
expansion joints
Installation, details, options
For a larger view, please mouseover the image.
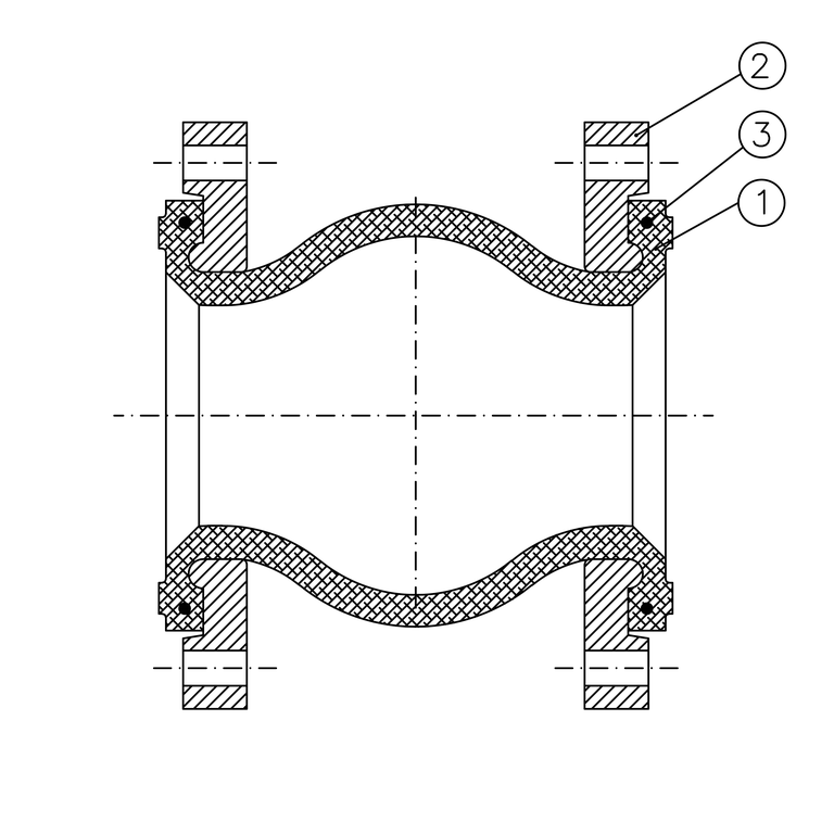
D type without tie rods
| Item |
Designation |
| 1 |
Rubber bellows |
| 2 |
Flanges |
| 3 |
Reinforcement ring |
For a larger view, please mouseover the image.
D type with tie rods
| Item |
Designation |
| 1 |
Rubber bellows |
| 2 |
Flanges |
| 3 |
Reinforcement ring |
| 4 |
Loose brackets |
| 5 |
Tie rods |
| 6 |
Nuts |
| 7 |
Spherical washers |